鸡排哥商标已被别人持有9年,唐邦时讯丨景德镇“鸡排哥”爆火后,有新身份!“鸡排哥”..

鸡排哥商标已被别人持有9年

江西景德镇“鸡排哥”,喜提“新身份”!

9月28日,“鸡排哥”李俊永在江西景德镇文旅推广座谈会上发言,“马上就是国庆了,我们工作的重心,严格把控食品的安全,把控卫生问题”。

同日晚,景德镇市文化广电旅游局官方账号发视频称,决定授予李俊永“景德镇文旅推介官”称号,并颁发了荣誉证书。

据了解,“鸡排哥”李俊永,江西南昌人,他此前透露自己今年48岁,已经在景德镇生活了42年,积累26年的摆摊经验。

“鸡排哥”因独特的经营方式以及快溢出来的情绪价值在社交平台圈粉无数,被网友亲切称为“景德镇鸡排哥”“景德镇鸡排主理人”。网友打趣称“6元的鸡排卖出了60元的情绪价值”,还有人评论其“买鸡排送心理咨询”“买鸡排送鸡汤”。

从“现象级”爆火的“鸡排哥”,到扛起景德镇城市文旅推广大旗的“文旅推介官”,摆摊小哥李俊永完成了一次从“小个体”到“大角色”的身份升级。

只不过,流量就像“一阵风”,吹得再猛烈也会慢慢消散。“鸡排哥”的摆摊生意,要的是细水长流的稳定,若想让“鸡排哥”这个名号被人记住,把热度转化,光靠短期流量是远远不够的,还需要商标品牌布局作为底层支撑。

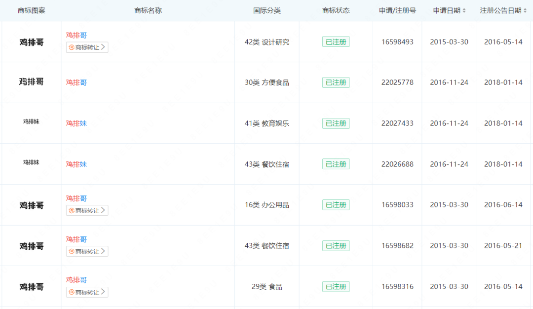
知识产权信息显示,上海某食品有限公司享有多件“鸡排哥”“鸡排妹”商标专用权(注:多件“鸡排哥”商标是该公司从其关联公司处受让取得)。此外,该公司还曾尝试申请“JPG”“鸡排哥 JPG”“JPG 鸡排哥”商标,但均已失败。

鸡排哥商标已被别人持有9年

鸡排哥商标已被别人持有9年

另据查,“主理人”也早已被申请注册商标。检索发现,2019年以前申请注册在多件“主理人”商标均已被核准注册,但2020年往后申请的“主理人”商标已悉数被驳回。

鸡排哥商标已被别人持有9年

当一个商标名称慢慢成为网络热词或通用名称,失去了区分商品/服务来源的功能,注册成功的概率微乎其微。如侥幸将热词成功注册为商标,随着热度消退,商标也会逐渐沦为“过气商标”,价值也将随之降低。

商标的核心价值,从来不是靠蹭流量得来的热度,而是靠长期良心经营积累的口碑。与其耗费精力抢注热词商标,不如像“鸡排哥”那样——用干净卫生的食材、细致的服务体验吸引顾客。当品牌自带好口碑,即便核心商标遭遇抢注,消费者依然能清晰辨别谁是“正宗品牌”。

资料&图片来源网络,版权归原作者所有,如有侵权请后台联系删除,谢谢

IPR12330丨唐邦权世界

为全世界企业提供专业的知识产权管理

知识产权|商标|专利|版权

www.tonbong.com

免费咨询热线:

010-88579979(北京总部)

023-88613789(重庆分公司)

020-29013777(广州分公司)

0312-3063931(保定分公司)

028-67058740(成都子公司)

023-86060079(权唐子公司)

023-86060079(权德子公司)

023-81906796(唐鉴子公司)

023-86060079(舞唐子公司)

028-67767928(正唐子公司)

发现“在看”和“分享”了吗,戳我试试吧

版权声明:本站内容由互联网用户投稿自发贡献或转载于互联网,文章观点仅代表作者本人。本站仅提供信息存储空间服务,不拥有所有权,不承担相关法律责任。如发现本站有涉嫌抄袭侵权/违法违规的内容, 请发送邮件至2024tuiguang@gmail.com举报,一经查实,本站将立刻删除。

合作:2024tuiguang@gmail.com